厚街镇创新出租屋管理:星级评定提升居住安全与满意度

房产   来源:莞讯网  责任编辑:百花残  2024-11-05 13:24:34
 
 
出租屋星级评定制度全面实施
 
厚街镇在东莞市率先推行“出租屋星级公示挂牌”制度,旨在提升出租屋的安全管理和居住环境。该制度自今年8月实施以来,已覆盖全镇24个社区的2万多栋出租屋,通过评星挂牌的方式,全面加强了出租屋管理,得到了房东和租客的广泛好评。
 
星级评定的具体实施与成效
 
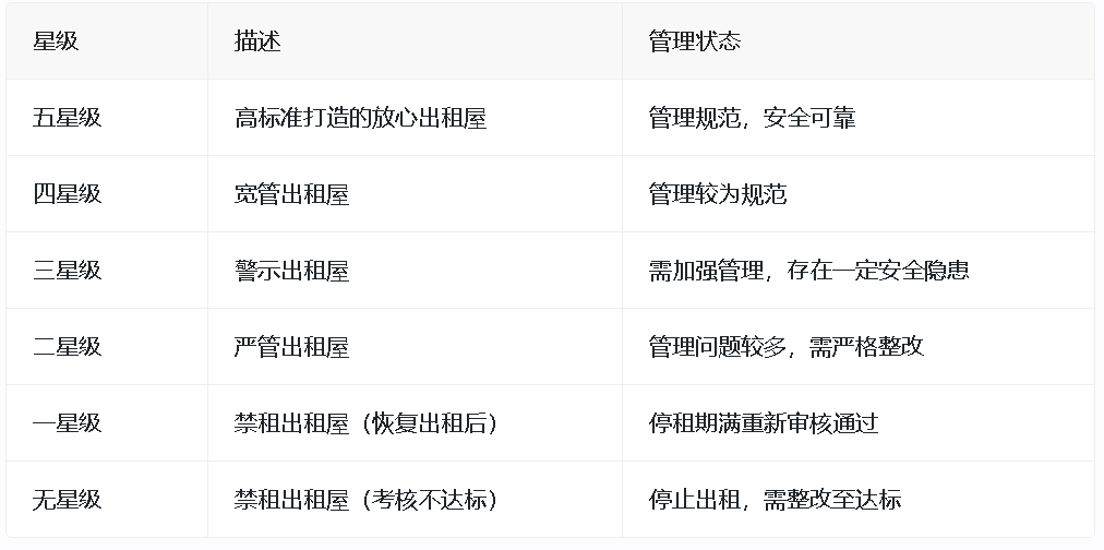
- 评定标准:星级评定主要围绕出租屋的治安、消防、卫生、文明等方面进行考核,共分为五个星级。
 
- 五星级出租屋:高标准打造的放心出租屋,各项管理规范到位。
 
- 四星级出租屋:属于宽管出租屋,管理较为规范。
 
- 三星级出租屋:警示出租屋,需加强管理。
 
- 二星级出租屋:严管出租屋,存在较多问题需整改。
 
- 一星级出租屋:禁租出租屋,停租期满后需重新申请审核通过才能恢复出租。
 
- 无星级出租屋:考核得分低于60分,列为禁租出租屋,由相关部门作出停止出租处理。
 
实际案例展示
 
在河田社区,张小姐经营的出租屋被评为五星级。她规范设置了充电区域,配备了充足的消防设施,并安排专人管理消防通道,确保安全。评上五星级后,她的出租屋生意更加红火,租客介绍亲朋好友入住的情况增多。张小姐表示,这既是对她的肯定,也是鞭策,她将继续做好安全管理和租客服务,维持五星级水平。
 
租客反馈
 
租客宋先生表示,出租屋星级评定让他在选择租房时更加直观,首选五星级的出租屋,因为各方面管理都比较好,让他住得更加安心。
 
政府督导与长效机制
 
镇党委副书记丁金诺率队实地督导出租屋星级挂牌工作,强调要通过分级管理长效机制的落实,进一步压实出租屋房东和二手房东的安全主体责任,提升出租屋安全管理水平,形成基层治理效能提升和群众满意的“双赢”局面。
 
结论与展望
 
出租屋星级公示挂牌制度实现了出租屋的精准化服务管理,有效引导房东落实安全主体责任,激励租客选择安全合格、管理规范的高星级出租屋。这一举措不仅提升了厚街出租屋的治安、消防和卫生管理水平,也让租客租得安心、住得舒心、出门放心,为外来人口营造了一个幸福的居住环境。
 
 
表格:厚街镇出租屋星级评定标准及分类
 
本网观点:厚街镇的出租屋星级评定制度是一项创新的社会治理举措,通过分级分类管理,有效提升了出租屋的安全和管理水平。这不仅为租客提供了更加安心的居住环境,也激励了房东加强自我管理,形成良好的社会共治局面。希望这一制度能在更多地区推广,为外来人口提供更加安全、舒适的居住条件。 
 
厚街镇的出租屋星级评定系统对房东和租客的行为产生了显著影响,具体如下:
 
对房东的影响及措施
 
1. 增强安全意识和管理责任:
 
   - 为了提高出租屋的星级,房东会加强安全管理,例如规范设置充电区域、配备充足的消防设施、定期检查和维护安全设备等。
 
2. 改善居住环境:
 
   - 房东会努力保持出租屋的卫生和整洁,定期清理消防通道,确保没有杂物堆积,提升整体居住环境。
 
3. 主动配合检查:
 
   - 房东会积极配合有关部门的检查,对检查中发现的问题进行及时整改,以维持或提升出租屋的星级。
 
4. 提供更好的服务:
 
   - 为了吸引和留住租客,房东可能会提供更好的租客服务,例如安排专人管理,确保租客的居住体验。
 
对租客的影响及选择
 
1. 直观选择安全出租屋:
 
   - 租客在选择出租屋时,可以直观地根据星级来判断出租屋的管理优劣,首选高星级的出租屋,因为这些出租屋在治安、消防、卫生等方面表现更好。
 
2. 增加安全感:
 
   - 高星级的出租屋让租客感觉更加安全,因为这些出租屋经过了严格的评定和检查,安全隐患较少。
 
3. 口碑传播:
 
   - 租客会倾向于向亲朋好友推荐高星级的出租屋,形成良好的口碑效应,进一步推动房东提高管理和服务水平。
 
总结
 
厚街镇的出租屋星级评定系统通过明确的评定标准和公开透明的信息公示,激励房东主动提升出租屋的安全和管理水平,同时也为租客提供了可靠的选择依据,实现了房东和租客的双赢。这种创新的管理模式不仅提升了出租屋的整体质量,还有效改善了基层社会治理。 

点击进入莞讯网首页>>

品牌介绍 | 广告服务 | 版权声明 | 联系我们 | 网站地图 | RSS订阅 | DMOZ目录
本站部分资料来源于互联网转载和网友发布,如侵犯您的权益,请联系我站客服,我们将尽快处理,谢谢合作!
Copyright © www.guannews.com Inc. All Rights Reserved.莞讯网