华为申请注册大量AI商标

企业   来源:莞讯网  责任编辑:百花残  2023-07-10 09:14:33

  华为申请注册大量AI商标
 
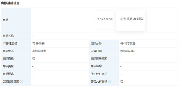
  近日,CNMO注意到,根据相关App显示的信息,华为技术有限公司申请注册“华为星河AI网络”“华为星界AI网络”“华为星渊AI网络”“华为星空AI网络”商标,国际分类涉及科学仪器、网站服务,当前商标状态均为申请中。
 
  工商信息显示,华为技术有限公司成立于1987年9月15日,总部位于广东省深圳市龙岗区,法定代表人为赵明路,董事长为梁华、副董事长为徐直军、胡厚崑和孟晚舟。与此同时,华为技术有限公司的经营范围包括无线通信设备、计算机及配套设备、终端设备及相关通信信息产品、集成电路设计、大数据产品、物联网相关领域研发、汽车零部件及智能系统研发等等。目前,华为技术有限公司由华为投资控股有限公司全资持股。此外,不久之前,这家公司的注册资本增加值406亿元人民币。
 
  当前,人工智能技术是华为发展的重心之一。7月6日,在2023世界人工智能大会上,华为官方正式公布了它们的人工智能战略,宣布将在人工智能领域将深耕算力和大模型。(来源:手机中国   )

点击进入莞讯网首页>>

品牌介绍 | 广告服务 | 版权声明 | 联系我们 | 网站地图 | RSS订阅 | DMOZ目录
本站部分资料来源于互联网转载和网友发布,如侵犯您的权益,请联系我站客服,我们将尽快处理,谢谢合作!
Copyright © www.guannews.com Inc. All Rights Reserved.莞讯网