苹果折叠屏iPhone 新专利获批:内嵌弹簧层,可缓解折叠压力

科技   来源:新浪  责任编辑:天下  2024-04-17 11:39:41

  4 月 17 日消息,根据美国商标和专利局(USPTO)近日公示的清单,苹果公司获得了一项关于折叠屏幕手机专利,重点介绍了全新的弹簧层概念,以减轻折叠时的压力。

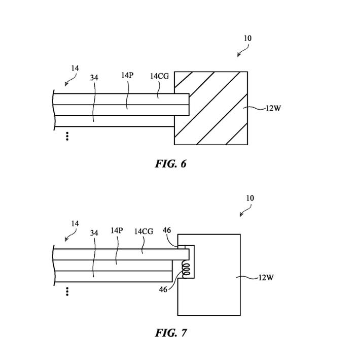
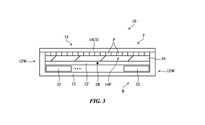
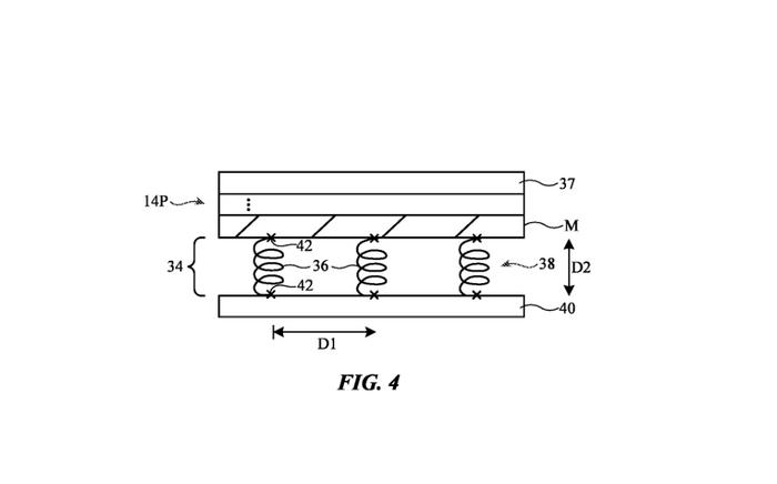
  苹果公司表示该弹簧层由金属弹簧阵列组成,然后在弹簧层中内嵌力传感结构(如应变计)等传感器,此外专利中还表示如果有需要,可将泡沫柱和其他可压缩结构与弹簧穿插在一起,以帮助调整弹簧层的性能。

  该弹簧层可以采用各种柔性金属,例如弹簧钢、镍铬铝合金、铍铜合金、不锈钢、钴镍合金等弹簧金属。IT之家附上相关图片如下:

  苹果公司表示,折叠屏设备中引入弹簧层,一方面可以缓解设备在撞击、挤压等事件中受到的外部压力,而另一方面也可以缓解屏幕在反复折叠和展开过程中受到的应力影响,从而提高折叠屏设备的耐用性。

  苹果认为这种弹簧层可以缓解外部压力,并防止过度局部变形。

  via:patentlyapple

点击进入莞讯网首页>>

品牌介绍 | 广告服务 | 版权声明 | 联系我们 | 网站地图 | RSS订阅 | DMOZ目录
本站部分资料来源于互联网转载和网友发布,如侵犯您的权益,请联系我站客服,我们将尽快处理,谢谢合作!
Copyright © www.guannews.com Inc. All Rights Reserved.莞讯网